Price Overview

The Price Overview page can be used to manage retail and customer prices including price changes from promotions. The page is also used if the item is a part of an active offer. Select item and click Edit on the Home Action Menu.

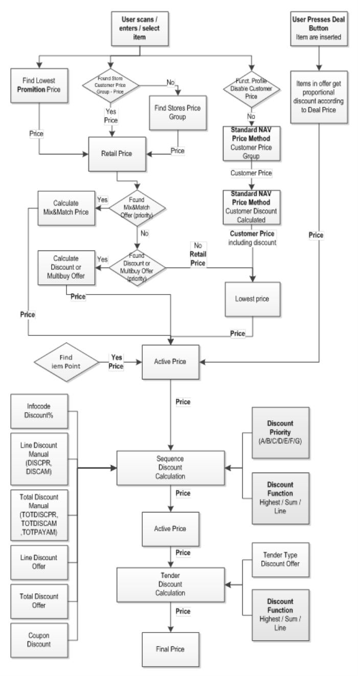
Overview of the Price Structure

Here is an overview of the price structure and how the prices work:

Price Priorities

How an Active Price is found depends on the offers available and their priorities, see the Price Structure graph above.

  • First the Retail Price has to be found, that is the most specific price in the Store in question after all valid Promotions have been calculated.
  • Next it is checked whether there is a Periodic Offer that applies in this case. If that is the case it is calculated for the Retail Price that has been found.
  • If no Periodic Offer is found and the sale is connected to a customer that should get a special price then this price or discount is found and compared to the Retail Price already found. The customer will get the better price of these two.
  • An exception to the previous points is if there is a Deal available, since it overwrites all the other offers, as can be seen on the right hand side of the graph in Price Overview.
  • The price obtained here is the basis for the offer calculations in the bottom part of the graph, listed on the left hand side and including for instance the Line Discount Offers and Total Discount Offers

For Discount Offers, Multibuy and Mix & Match you can set up priority for overlapping discounts. If Item Point Offer is selected by a user it will overrule the possible previous triggered offer.

Priority can be changed by drilling down on the Priority value in the General tab:

Priorities and Order of Discount Calculation

The order that the discount is calculated is of importance. On the Retail Setup page there is an overview over discounts and priorities on the Discounts FastTab. This applies to the discounts at the bottom part of the Overview of the Price Structure graph.

The calculation sequence of discounts after automatic discounts can be seen here. The Sequence Code defines the sequence that the discounts are calculated in (A – G). The below graph is a description of this part of the offer priorities.

The Discount Function defines the function to execute within the Sequence Code value the discount holds. Further overview is seen in the following graph.

  • Highest: The record within a specific Sequence Code with the highest % is used and the others are discarded. 
  • Sum: The sum of the % values within a specific Sequence Code with the function of Highest and Sum is used in one calculation
  • Line: Each individual line is calculated to the value from the previous calculation

Here is an overview over the priorities: